医療用医薬品 詳細表示

グリセリン浣腸液50%「ケンエー」 30mL/グリセリン浣腸液50%「ケンエー」 40mL/グリセリン浣腸液50%「ケンエー」 50mL/グリセリン浣腸液50%「ケンエー」 60mL/グリセリン浣腸液50%「ケンエー」 90mL/グリセリン浣腸液50%「ケンエー」 120mL/グリセリン浣腸液50%「ケンエー」 150mL/グリセリン浣腸液50%「ケンエー」 500mL

処方せん医薬品以外の医薬品

添付文書番号
企業コード
作成又は改訂年月
日本標準商品分類番号
薬効分類名
承認等
一般的名称
2.禁忌(次の患者には投与しないこと)
3.組成・性状
3.1組成
3.2製剤の性状
4.効能又は効果
6.用法及び用量
8.重要な基本的注意
9.特定の背景を有する患者に関する注意
9.1合併症・既往歴等のある患者
9.5妊婦
9.6授乳婦
9.7小児等
9.8高齢者
11.副作用
11.2その他の副作用
14.適用上の注意
18.薬効薬理
18.1作用機序
18.2生物学的同等性試験
19.有効成分に関する理化学的知見
22.包装
23.主要文献
24.文献請求先及び問い合わせ先
26.製造販売業者等

グリセリン浣腸液50%「ケンエー」 30mL/グリセリン浣腸液50%「ケンエー」 40mL/グリセリン浣腸液50%「ケンエー」 50mL/グリセリン浣腸液50%「ケンエー」 60mL/グリセリン浣腸液50%「ケンエー」 90mL/グリセリン浣腸液50%「ケンエー」 120mL/グリセリン浣腸液50%「ケンエー」 150mL/グリセリン浣腸液50%「ケンエー」 500mL

添付文書番号

2357701K1121_1_03

企業コード

260024

作成又は改訂年月

2022年11月改訂(第1版)

日本標準商品分類番号

872357

薬効分類名

ディスポーザブル グリセリン浣腸剤

承認等

グリセリン浣腸液50%「ケンエー」 30mL

販売名コード

YJコード

2357701K3140

販売名英語表記

Glycerin Enema 50% 「KENEI」

承認番号等

承認番号

30200AMX00009

販売開始年月

1987年12月

貯法・有効期間

貯法

室温保存

有効期間

3年

グリセリン浣腸液50%「ケンエー」 40mL

販売名コード

YJコード

2357701K4112

販売名英語表記

Glycerin Enema 50% 「KENEI」

承認番号等

承認番号

30200AMX00009

販売開始年月

1987年12月

貯法・有効期間

貯法

室温保存

有効期間

3年

グリセリン浣腸液50%「ケンエー」 50mL

販売名コード

YJコード

2357701K5046

販売名英語表記

Glycerin Enema 50% 「KENEI」

承認番号等

承認番号

30200AMX00009

販売開始年月

1987年12月

貯法・有効期間

貯法

室温保存

有効期間

3年

グリセリン浣腸液50%「ケンエー」 60mL

販売名コード

YJコード

2357701K6239

販売名英語表記

Glycerin Enema 50% 「KENEI」

承認番号等

承認番号

30200AMX00009

販売開始年月

1987年12月

貯法・有効期間

貯法

室温保存

有効期間

3年

グリセリン浣腸液50%「ケンエー」 90mL

販売名コード

YJコード

2357701Y1043

販売名英語表記

Glycerin Enema 50% 「KENEI」

承認番号等

承認番号

30200AMX00009

販売開始年月

1987年12月

貯法・有効期間

貯法

室温保存

有効期間

3年

グリセリン浣腸液50%「ケンエー」 120mL

販売名コード

YJコード

2357701K8193

販売名英語表記

Glycerin Enema 50% 「KENEI」

承認番号等

承認番号

30200AMX00009

販売開始年月

1987年12月

貯法・有効期間

貯法

室温保存

有効期間

3年

グリセリン浣腸液50%「ケンエー」 150mL

販売名コード

YJコード

2357701K9181

販売名英語表記

Glycerin Enema 50% 「KENEI」

承認番号等

承認番号

30200AMX00009

販売開始年月

1987年12月

貯法・有効期間

貯法

室温保存

有効期間

3年

グリセリン浣腸液50%「ケンエー」 500mL

販売名コード

YJコード

2357701K1121

販売名英語表記

Glycerin Enema 50% 「KENEI」

承認番号等

承認番号

30200AMX00009

販売開始年月

1987年12月

貯法・有効期間

貯法

室温保存

有効期間

3年

一般的名称

グリセリン

2. 禁忌(次の患者には投与しないこと)

  1. 2.1 腸管内出血、腹腔内炎症のある患者、腸管に穿孔またはそのおそれのある患者[腸管外漏出による腹膜炎の誘発、蠕動運動亢進作用による症状の増悪、グリセリンの吸収による溶血、腎不全を起こすおそれがある。][9.1.1参照]
  2. 2.2 全身衰弱の強い患者[強制排便により衰弱状態を悪化させ、ショックを起こすおそれがある。]
  3. 2.3 下部消化管術直後の患者[蠕動運動亢進作用により腸管縫合部の離解をまねくおそれがある。]
  4. 2.4 吐気、嘔吐または激しい腹痛等、急性腹症が疑われる患者[症状を悪化させるおそれがある。]

3. 組成・性状

3.1 組成

グリセリン浣腸液50%「ケンエー」 30mL

有効成分100g中 日局グリセリン50g  
添加剤エチルパラベン、ブチルパラベン

グリセリン浣腸液50%「ケンエー」 40mL

有効成分100g中 日局グリセリン50g  
添加剤エチルパラベン、ブチルパラベン

グリセリン浣腸液50%「ケンエー」 50mL

有効成分100g中 日局グリセリン50g  
添加剤エチルパラベン、ブチルパラベン

グリセリン浣腸液50%「ケンエー」 60mL

有効成分100g中 日局グリセリン50g  
添加剤エチルパラベン、ブチルパラベン

グリセリン浣腸液50%「ケンエー」 90mL

有効成分100g中 日局グリセリン50g  
添加剤エチルパラベン、ブチルパラベン

グリセリン浣腸液50%「ケンエー」 120mL

有効成分100g中 日局グリセリン50g  
添加剤エチルパラベン、ブチルパラベン

グリセリン浣腸液50%「ケンエー」 150mL

有効成分100g中 日局グリセリン50g  
添加剤エチルパラベン、ブチルパラベン

グリセリン浣腸液50%「ケンエー」 500mL

有効成分100g中 日局グリセリン50g  
添加剤エチルパラベン、ブチルパラベン

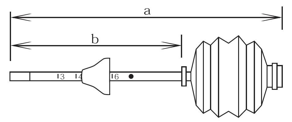
3.2 製剤の性状

グリセリン浣腸液50%「ケンエー」 30mL

性状無色澄明の液で、においはない。
比重 約1.11
容器の形状Lタイプ
外形側面
寸法(a)約160mm
寸法(b)100mm
備考● アコーディオン方式● レクタルチューブ(目盛入り)付● 逆流防止弁付● スライド式ストッパー付
容器の形状Sタイプ
外形側面
寸法(a)100mm
寸法(b)45mm

グリセリン浣腸液50%「ケンエー」 40mL

性状無色澄明の液で、においはない。
比重 約1.11
容器の形状Lタイプ
外形側面
寸法(a)約220mm
寸法(b)160mm
備考● アコーディオン方式● レクタルチューブ(目盛入り)付● 逆流防止弁付● スライド式ストッパー付

グリセリン浣腸液50%「ケンエー」 50mL

性状無色澄明の液で、においはない。
比重 約1.11
容器の形状Sタイプ
外形側面
寸法(a)115mm
寸法(b)60mm

グリセリン浣腸液50%「ケンエー」 60mL

性状無色澄明の液で、においはない。
比重 約1.11
容器の形状Lタイプ
外形側面
寸法(a)約225mm
寸法(b)160mm
備考● アコーディオン方式● レクタルチューブ(目盛入り)付● 逆流防止弁付● スライド式ストッパー付

グリセリン浣腸液50%「ケンエー」 90mL

性状無色澄明の液で、においはない。
比重 約1.11
容器の性状Lタイプ
外形側面
寸法(a)約230mm
寸法(b)160mm
備考● アコーディオン方式● レクタルチューブ(目盛入り)付● 逆流防止弁付● スライド式ストッパー付

グリセリン浣腸液50%「ケンエー」 120mL

性状無色澄明の液で、においはない。
比重 約1.11
容器の形状Lタイプ
外形側面
寸法(a)約235mm
寸法(b)160mm
備考● アコーディオン方式● レクタルチューブ(目盛入り)付● 逆流防止弁付● スライド式ストッパー付

グリセリン浣腸液50%「ケンエー」 150mL

性状無色澄明の液で、においはない。
比重 約1.11
容器の形状Lタイプ
外形側面
寸法(a)約240mm
寸法(b)160mm
備考● アコーディオン方式● レクタルチューブ(目盛入り)付● 逆流防止弁付● スライド式ストッパー付

グリセリン浣腸液50%「ケンエー」 500mL

性状無色澄明の液で、においはない。
比重 約1.11
容器の形状プラスチック瓶

4. 効能又は効果

便秘、腸疾患時の排便

6. 用法及び用量

通常、1回10~150mLを直腸内に注入する。

なお、年令、症状により適宜増減する。

8. 重要な基本的注意

連用による耐性の増大等のため効果が減弱し、薬剤に頼りがちになることがあるので長期連用を避けること。

9. 特定の背景を有する患者に関する注意

9.1 合併症・既往歴等のある患者

  1. 9.1.1 局所(腸管、肛門)に炎症・創傷のある患者

    出血を促しグリセリンが吸収され溶血を、また、腎不全を起こすおそれがある。[2.1参照]

  2. 9.1.2 腸管麻痺のある患者

    蠕動運動亢進作用により腹痛等の症状を増悪させるおそれがある

  3. 9.1.3 重症の硬結便のある患者

    浣腸剤では十分な効果が得られず、腹痛等の症状を増悪させるおそれがある。

  4. 9.1.4 重篤な心疾患のある患者

    症状を増悪させるおそれがある。

9.5 妊婦

妊婦又は妊娠している可能性のある女性に投与する場合には、治療上の有益性が危険性を上回ると判断される場合にのみ投与すること。子宮収縮を誘発して流早産を起こす危険性がある。

9.6 授乳婦

治療上の有益性及び母乳栄養の有益性を考慮し、授乳の継続又は中止を検討すること。

9.7 小児等

乳児に投与する場合は慎重に投与すること。患児側の反応を十分に把握できない場合、過量投与に陥りやすい。

9.8 高齢者

少量から開始するなど慎重に投与すること。高齢者では過度の瀉下作用により体液量の減少等をきたし、脱水等を起こすことがある。

11. 副作用

次の副作用があらわれることがあるので、観察を十分に行い、異常が認められた場合には投与を中止するなど適切な処置を行うこと。

11.2 その他の副作用

頻度不明

過敏症

発疹等

消化器

腹痛、腹鳴、腹部膨満感、直腸不快感、肛門部違和感・熱感、残便感等

循環器

血圧変動

14. 適用上の注意

14.1 薬剤交付時の注意

(1)浣腸用にのみ使用すること。
(2)注入に際し、直腸粘膜を損傷することがあるので、慎重に挿入すること。
挿入時、損傷を起こし、出血がみられた場合、グリセリンが血管内に入り、溶血を起こすおそれがある。
(3)患者の状態を観察しながら投与し、異常が認められた場合には直ちに投与を中止すること。

14.2 薬剤投与後の注意

連続の使用を避け、1個を1回で使用し、使用残液は容器ごと廃棄すること。

18. 薬効薬理

18.1 作用機序

グリセリンは、直腸内への注入によって腸管壁の水分を吸収することに伴う刺激作用により腸管の蠕動を亢進させ、また、浸透作用により糞便を軟化、膨潤化させることにより糞便を排泄させると考えられている。

18.2 生物学的同等性試験

グリセリン浣腸液50%「ケンエー」と標準製剤の薬理効果について、モルモット生体直腸粘膜面に対する腸管の蠕動運動持続時間を比較した結果、両剤の生物学的同等性が確認された1)

19. 有効成分に関する理化学的知見

一般的名称

日本薬局方グリセリン(Glycerin)

化学名

Propane-1,2,3-triol

分子式

C3H8O3

分子量

92.09

性状

日本薬局方グリセリンはグリセリン(C3H8O3)84~87%を含む無色澄明の粘性の液で、味は甘い。本品は水又はエタノール(99.5)と混和する。本品は吸湿性である。

化学構造式

22. 包装

〈Lタイプ〉 30mL×20、40mL×20、60mL×10、90mL×10、120mL×10、150mL×10
〈Sタイプ〉 30mL×5、50mL×5
〈瓶〉 500mL(ポリエチレン瓶)

24. 文献請求先及び問い合わせ先

健栄製薬株式会社 学術情報部

〒541-0044 大阪市中央区伏見町2丁目5番8号

電話番号(06)6231-5822
FAX番号(06)6204-0750

26. 製造販売業者等

26.1 製造販売元

健栄製薬株式会社

大阪市中央区伏見町2丁目5番8号



(1)本品をそのまま温湯に入れ、約40℃(体温程度)に温める。

(2)レクタルチューブの目盛(3,4,5,6cm)を目安にして、ストッパーをスライドさせ挿入深度を合わせる。
(成人の場合:5~6cm、小児の場合:3~6cm、乳児の場合:3~4cm)

(3)レクタルチューブをしっかり持ち、キャップをまわすように取りはずす。

(4)ストッパーより先端の挿入部を少量の内容液で潤すか、オリブ油、ワセリン等の潤滑剤を塗布して肛門内に挿入しやすくする。(浣腸液が出にくい場合はチューブの先端部を軽く叩いて、浣腸液が出るのを確認してから使用すること。)

(5)患者を左側臥位にして、容器内の空気を追い出した後、レクタルチューブをストッパーの位置まで肛門内に緩徐に挿入する。レクタルチューブを無理に挿入すると、直腸粘膜を損傷することがあるので注意すること。(立位の状態での浣腸は危険ですので行わないこと。)

(6)ストッパーを片方の手で固定し、浣腸液をゆっくりと直腸内に注入する。

(7)浣腸液注入後、レクタルチューブを静かに抜去し、肛門部を脱脂綿等で圧迫する。

(8)通常3~10分後、便意が強まってから排便させる。

(1)本品をそのまま温湯に入れ、約40℃(体温程度)に温める。

(2)容器の首部を持ち、キャップをまわすように取りはずす。

(3)容器の挿入部を少量の内容液で潤すか、オリブ油、ワセリン等の潤滑剤を塗布して肛門内に挿入しやすくする。

(4)患者を左側臥位にして、容器内の空気を追い出した後、容器の目盛(3cm)を目安にして、挿入部を肛門内に緩徐に挿入する。
30mL(3cm以上)
50mL(成人の場合:5~6cm、小児の場合:3~6cm、乳児の場合:3~4cm)
無理に挿入すると、直腸粘膜を損傷することがあるので注意すること。(立位の状態での浣腸は危険ですので行わないこと。)

(5)浣腸液をゆっくりと直腸内に注入する。

(6)浣腸液注入後、挿入部を静かに抜去し、肛門部を脱脂綿等で圧迫する。

(7)通常3~10分後、便意が強まってから排便させる。

〒100-0013 東京都千代田区霞が関3-3-2 新霞が関ビル

画面を閉じる

Copyright © Pharmaceuticals and Medical Devices Agency, All Rights reserved.