医療用医薬品 詳細表示

ヘルベッサー注射用250

処方せん医薬品

添付文書番号
企業コード
作成又は改訂年月
日本標準商品分類番号
薬効分類名
承認等
一般的名称
2.禁忌(次の患者には投与しないこと)
3.組成・性状
3.1組成
3.2製剤の性状
4.効能又は効果
6.用法及び用量
8.重要な基本的注意
9.特定の背景を有する患者に関する注意
9.1合併症・既往歴等のある患者
9.2腎機能障害患者
9.3肝機能障害患者
9.5妊婦
9.6授乳婦
9.7小児等
9.8高齢者
10.相互作用
10.1併用禁忌(併用しないこと)
10.2併用注意(併用に注意すること)
11.副作用
11.1重大な副作用
11.2その他の副作用
13.過量投与
14.適用上の注意
16.薬物動態
16.1血中濃度
16.3分布
16.4代謝
16.5排泄
17.臨床成績
17.1有効性及び安全性に関する試験
18.薬効薬理
18.1作用機序
19.有効成分に関する理化学的知見
22.包装
23.主要文献
24.文献請求先及び問い合わせ先
26.製造販売業者等

ヘルベッサー注射用250

添付文書番号

2171405D3020_1_16

企業コード

400315

作成又は改訂年月

2025年12月改訂(第2版)
2023年7月改訂(第1版)

日本標準商品分類番号

872171

薬効分類名

Ca拮抗剤

承認等

ヘルベッサー注射用250

販売名コード

YJコード

2171405D3020

販売名英語表記

HERBESSER for Injection

販売名ひらがな

へるべっさーちゅうしゃよう

承認番号等

承認番号

20700AMZ00426

販売開始年月

1995年6月

貯法・有効期間

貯法

室温保存

有効期間

3年

一般的名称

ジルチアゼム塩酸塩製剤

2. 禁忌(次の患者には投与しないこと)

  1. 2.1 重篤な低血圧あるいは心原性ショックのある患者[症状を悪化させるおそれがある。]
  2. 2.2 2度以上の房室ブロック、洞不全症候群(持続性の洞性徐脈(50拍/分未満)、洞停止、洞房ブロック等)のある患者[本剤の心刺激生成抑制作用、心伝導抑制作用が過度にあらわれるおそれがある。]
  3. 2.3 重篤なうっ血性心不全の患者[心不全症状を悪化させるおそれがある。]
  4. 2.4 重篤な心筋症のある患者[心不全症状を悪化させるおそれがある。]
  5. 2.5 本剤の成分に対し過敏症の既往歴のある患者
  6. 2.6 妊婦又は妊娠している可能性のある女性
  7. 2.7 アスナプレビルを含有する製剤、イバブラジン塩酸塩、ロミタピドメシル酸塩を投与中の患者

3. 組成・性状

3.1 組成

ヘルベッサー注射用250

有効成分(1瓶中)
日局 ジルチアゼム塩酸塩   250mg
添加剤(1瓶中)
D-マンニトール   375mg

3.2 製剤の性状

ヘルベッサー注射用250

pH4.9
浸透圧比1.9(生理食塩液に対する比)
性状白色の塊又は多孔性の固体
(本品1瓶を注射用水5mLに溶かしたときは無色澄明の液)

4. 効能又は効果

  • 高血圧性緊急症
  • 不安定狭心症

6. 用法及び用量

本剤(ジルチアゼム塩酸塩として250mg)は、5mL以上の生理食塩液又はブドウ糖注射液に用時溶解し、次のごとく投与する。

  • 〈高血圧性緊急症〉

    通常、成人には1分間に体重kg当たりジルチアゼム塩酸塩として5~15μgを点滴静注する。目標値まで血圧を下げ、以後血圧をモニターしながら点滴速度を調節する。

  • 〈不安定狭心症〉

    通常、成人には1分間に体重kg当たりジルチアゼム塩酸塩として1~5μgを点滴静注する。投与量は低用量から開始し、患者の病態に応じて適宜増減するが、最高用量は1分間に体重kg当たり5μgまでとする。

8. 重要な基本的注意

  1. 8.1 心電図と血圧を連続的に監視すること。
  2. 8.2 本剤の投与により完全房室ブロック、高度徐脈、更に心停止に至る場合があるので、次の点に十分注意すること。
    • 治療上必要最小限の用量、また、点滴静注の場合は必要最小限の投与時間にとどめること。
    • 投与中および投与後は患者の状態の観察を十分に行い、これらの症状の早期発見に留意すること。

  3. 8.3 狭心症発作が15分以上持続するなど重度の発作に対しては、必要に応じて他の治療法(PTCA、CABG等)も検討すること。

9. 特定の背景を有する患者に関する注意

9.1 合併症・既往歴等のある患者

  1. 9.1.1 うっ血性心不全の患者(重篤なうっ血性心不全の患者を除く)

    心不全症状を悪化させるおそれがある。

  2. 9.1.2 心筋症のある患者(重篤な心筋症のある患者を除く)

    心不全症状を悪化させるおそれがある。

  3. 9.1.3 急性心筋梗塞のある患者

    心不全症状を悪化させるおそれがある。

  4. 9.1.4 徐脈、1度の房室ブロックのある患者

    心刺激生成抑制作用、心伝導抑制作用が過度にあらわれるおそれがある。

  5. 9.1.5 低血圧のある患者(重篤な低血圧のある患者を除く)

    血圧を更に低下させるおそれがある。

  6. 9.1.6 WPW、LGL症候群を伴う心房細動、心房粗動のある患者

    低血圧を伴う心拍数増加、心室細動を来すおそれがある。

9.2 腎機能障害患者

  1. 9.2.1 重篤な腎機能障害のある患者

    薬物の排泄が遅延し、作用が増強するおそれがある。

9.3 肝機能障害患者

  1. 9.3.1 重篤な肝機能障害のある患者

    薬物の代謝が遅延し、作用が増強するおそれがある。

9.5 妊婦

妊婦又は妊娠している可能性のある女性には投与しないこと。動物実験で催奇形作用(マウス、ラット、ウサギ:骨格異常、外形異常)及び胎児毒性(マウス、ラット、ウサギ:致死)が報告されている。

9.6 授乳婦

治療上の有益性及び母乳栄養の有益性を考慮し、授乳の継続又は中止を検討すること。ヒトの母乳中へ移行することが報告されている。

9.7 小児等

小児等を対象とした臨床試験は実施していない。

9.8 高齢者

低用量から投与を開始するなど患者の状態を十分観察しながら慎重に投与すること。一般に高齢者では生理機能が低下している。

10. 相互作用

  • 本剤は主として代謝酵素チトクロームP450 3A4(CYP3A4)で代謝される。

10.1 併用禁忌(併用しないこと)

薬剤名等臨床症状・措置方法機序・危険因子

アスナプレビル(スンベプラ)

ダクラタスビル塩酸塩/アスナプレビル/ベクラブビル塩酸塩(ジメンシー)

アスナプレビルの血中濃度が上昇する。
肝胆道系の副作用が発現し、また重症化するおそれがある。

本剤がCYP3Aを阻害することにより、左記薬剤の代謝が阻害される。

イバブラジン塩酸塩(コララン)

過度の徐脈があらわれることがある。

本剤がCYP3Aを阻害することにより、左記薬剤の代謝が阻害され、血中濃度が上昇する。
左記薬剤の心拍数減少作用を相加的に増強する。

ロミタピドメシル酸塩(ジャクスタピッド)

ロミタピドメシル酸塩の血中濃度が著しく上昇するおそれがある。

本剤がCYP3Aを阻害することにより、左記薬剤の代謝が阻害される。

10.2 併用注意(併用に注意すること)

薬剤名等臨床症状・措置方法機序・危険因子

降圧作用を有する薬剤(降圧剤、硝酸剤等)

血圧を測定し、用量を調節する。

相加的に作用(降圧作用)を増強させると考えられる。

β遮断剤(ビソプロロールフマル酸塩、プロプラノロール塩酸塩、アテノロール等)

徐脈、房室ブロック、洞房ブロック等があらわれることがある。
心電図をモニターし、異常が認められた場合には減量若しくは投与を中止する。

相加的に作用(心刺激生成・伝導抑制作用、陰性変力作用、降圧作用)を増強させると考えられる。特にジギタリス製剤との3剤併用時には注意を要する。

ラウオルフィア製剤(レセルピン等)

徐脈、房室ブロック、洞房ブロック等があらわれることがある。
心電図をモニターし、異常が認められた場合には減量若しくは投与を中止する。

相加的に作用(心刺激生成・伝導抑制作用、陰性変力作用、降圧作用)を増強させると考えられる。特にジギタリス製剤との3剤併用時には注意を要する。

ジギタリス製剤(ジゴキシン、メチルジゴキシン)

徐脈、房室ブロック等があらわれることがある。
また、これらの不整脈を含めジギタリス製剤の血中濃度上昇による中毒症状(悪心・嘔吐、頭痛、めまい、視覚異常等)があらわれることがある。
心電図をモニターし、また、定期的にジギタリス中毒の有無を観察し、必要に応じてジギタリス製剤の血中濃度を測定する。異常が認められた場合には減量若しくは投与を中止する。

相加的に作用(心刺激生成・伝導抑制作用)を増強させると考えられる。特にβ遮断剤との3剤併用時には注意を要する。
また、本剤はジギタリス製剤の血中濃度を上昇させると考えられる。

抗不整脈薬(アミオダロン塩酸塩、メキシレチン塩酸塩等)

徐脈、房室ブロック、洞停止等があらわれることがある。
心電図をモニターし、異常が認められた場合には減量若しくは投与を中止する。

相加的に作用(心刺激生成・伝導抑制作用)を増強させると考えられる。

麻酔剤(イソフルラン等)

徐脈、房室ブロック、洞停止等があらわれることがある。
心電図をモニターし、異常が認められた場合には減量若しくは投与を中止する。

相加的に作用(心刺激生成・伝導抑制作用)を増強させると考えられる。

フィンゴリモド塩酸塩

フィンゴリモド塩酸塩の投与開始時に併用すると重度の徐脈や心ブロックが認められることがある。

共に徐脈や心ブロックを引き起こすおそれがある。

アプリンジン塩酸塩

両剤の血中濃度上昇による症状(徐脈、房室ブロック、洞停止、振戦、めまい、ふらつき等)があらわれることがある。
心電図をモニターし、また、定期的に臨床症状を観察し、異常が認められた場合には減量若しくは投与を中止する。

共通の代謝酵素(チトクロームP450)に影響を及ぼし合い、両剤の血中濃度を上昇させると考えられる。

ジヒドロピリジン系Ca拮抗剤(ニフェジピン、アムロジピンベシル酸塩等)

ジヒドロピリジン系Ca拮抗剤の血中濃度上昇による症状(降圧作用の増強等)があらわれることがある。
定期的に臨床症状を観察し、異常が認められた場合には減量若しくは投与を中止する。

これらの薬剤の代謝酵素(チトクロームP450)を阻害することにより、これらの薬剤の血中濃度を上昇させると考えられる。

シンバスタチン

シンバスタチンの血中濃度上昇による横紋筋融解症やミオパシーが発現することがある。
定期的に臨床症状を観察し、異常が認められた場合には投与を中止する。

これらの薬剤の代謝酵素(チトクロームP450)を阻害することにより、これらの薬剤の血中濃度を上昇させると考えられる。

トリアゾラム

トリアゾラムの血中濃度上昇による症状(睡眠時間の延長等)があらわれることがある。
定期的に臨床症状を観察し、異常が認められた場合には減量若しくは投与を中止する。

これらの薬剤の代謝酵素(チトクロームP450)を阻害することにより、これらの薬剤の血中濃度を上昇させると考えられる。

ミダゾラム

ミダゾラムの血中濃度上昇による症状(鎮静・睡眠作用の増強等)があらわれることがある。
定期的に臨床症状を観察し、異常が認められた場合には減量若しくは投与を中止する。

これらの薬剤の代謝酵素(チトクロームP450)を阻害することにより、これらの薬剤の血中濃度を上昇させると考えられる。

カルバマゼピン

カルバマゼピンの血中濃度上昇による症状(眠気、悪心・嘔吐、眩暈等)があらわれることがある。
定期的に臨床症状を観察し、異常が認められた場合には減量若しくは投与を中止する。

これらの薬剤の代謝酵素(チトクロームP450)を阻害することにより、これらの薬剤の血中濃度を上昇させると考えられる。

セレギリン塩酸塩

セレギリン塩酸塩の作用、毒性が増強することがある。
定期的に臨床症状を観察し、異常が認められた場合には減量若しくは投与を中止する。

これらの薬剤の代謝酵素(チトクロームP450)を阻害することにより、これらの薬剤の血中濃度を上昇させると考えられる。

テオフィリン

テオフィリンの血中濃度上昇による症状(悪心・嘔吐、頭痛、不眠等)があらわれることがある。
定期的に臨床症状を観察し、異常が認められた場合には減量若しくは投与を中止する。

これらの薬剤の代謝酵素(チトクロームP450)を阻害することにより、これらの薬剤の血中濃度を上昇させると考えられる。

シロスタゾール

シロスタゾールの作用が増強することがある。
定期的に臨床症状を観察し、異常が認められた場合には減量若しくは投与を中止する。

これらの薬剤の代謝酵素(チトクロームP450)を阻害することにより、これらの薬剤の血中濃度を上昇させると考えられる。

アピキサバン

アピキサバンの作用が増強することがある。
定期的に臨床症状を観察し、異常が認められた場合には減量若しくは投与を中止する。

これらの薬剤の代謝酵素(チトクロームP450)を阻害することにより、これらの薬剤の血中濃度を上昇させると考えられる。

ビノレルビン酒石酸塩

ビノレルビン酒石酸塩の作用が増強することがある。
定期的に臨床症状を観察し、異常が認められた場合には減量若しくは投与を中止する。

これらの薬剤の代謝酵素(チトクロームP450)を阻害することにより、これらの薬剤の血中濃度を上昇させると考えられる。

シクロスポリン

シクロスポリンの血中濃度上昇による症状(腎障害等)があらわれることがある。
定期的に臨床症状を観察し、また、シクロスポリンの血中濃度を測定し、異常が認められた場合には減量若しくは投与を中止する。

これらの薬剤の代謝酵素(チトクロームP450)を阻害することにより、これらの薬剤の血中濃度を上昇させると考えられる。

タクロリムス水和物

タクロリムスの血中濃度上昇による症状(腎障害等)があらわれることがある。
定期的に臨床症状を観察し、また、タクロリムスの血中濃度を測定し、異常が認められた場合には減量若しくは投与を中止する。

これらの薬剤の代謝酵素(チトクロームP450)を阻害することにより、これらの薬剤の血中濃度を上昇させると考えられる。

フェニトイン

フェニトインの血中濃度上昇による症状(運動失調、めまい、眼振等)があらわれることがある。
定期的に臨床症状を観察し、異常が認められた場合には減量若しくは投与を中止する。
また、本剤の作用が低下することがある。

フェニトインの代謝酵素(チトクロームP450)を阻害することにより、フェニトインの血中濃度を上昇させると考えられる。また、フェニトインが本剤の代謝を促進することにより、本剤の血中濃度を低下させると考えられる。

シメチジン

本剤の血中濃度上昇による症状(降圧作用の増強、徐脈等)があらわれることがある。
血圧を測定し、また、心電図をモニターし、異常が認められた場合には減量若しくは投与を中止する。

これらの薬剤が本剤の代謝酵素(チトクロームP450)を阻害することにより、本剤の血中濃度を上昇させると考えられる。

HIVプロテアーゼ阻害剤(リトナビル、サキナビルメシル酸塩等)

本剤の血中濃度上昇による症状(降圧作用の増強、徐脈等)があらわれることがある。
血圧を測定し、また、心電図をモニターし、異常が認められた場合には減量若しくは投与を中止する。

これらの薬剤が本剤の代謝酵素(チトクロームP450)を阻害することにより、本剤の血中濃度を上昇させると考えられる。

リファンピシン

本剤の作用が低下することがある。
定期的に臨床症状を観察し、また、可能であれば本剤の血中濃度を測定し、異常が認められた場合には、他剤への変更あるいは本剤を増量するなどの適切な処置を行う。

リファンピシンが本剤の代謝酵素(チトクロームP450)を誘導することにより、本剤の血中濃度を低下させると考えられる。

筋弛緩剤(パンクロニウム臭化物、ベクロニウム臭化物等)

筋弛緩剤の作用が増強することがある。
筋弛緩作用に注意し、異常が認められた場合には減量若しくは投与を中止する。

本剤が神経筋接合部において、シナプス前からのアセチルコリン放出を抑制させると考えられる。

11. 副作用

次の副作用があらわれることがあるので、観察を十分に行い、異常が認められた場合には投与を中止するなど適切な処置を行うこと。

11.1 重大な副作用

  1. 11.1.1 完全房室ブロック(0.16%)、高度徐脈等(頻度不明)

    初期症状として徐脈、めまい、ふらつき等があらわれることがあり、心停止に至る場合もあるので、これらに対処できる十分な準備を行い、投与する。また、このような異常が認められた場合には、直ちに投与を中止し、下記等の適切な処置を行うこと。,,

    • 完全房室ブロック、高度徐脈:アトロピン硫酸塩水和物、イソプレナリン等の投与や必要に応じて心臓ペーシング等の適切な処置を行うこと。
    • 心停止:心マッサージ、アドレナリン等のカテコールアミンの投与等蘇生処置を行うこと。
  2. 11.1.2 うっ血性心不全(頻度不明)

11.2 その他の副作用

0.1~5%未満

0.1%未満

頻度不明

循環器

徐脈、房室ブロック、血圧低下、房室接合部調律、期外収縮、洞停止、顔面潮紅、脚ブロック、動悸

洞房ブロック、めまい、一過性の頻脈

精神神経系

頭痛、嘔気

嘔吐

肝臓

AST、ALT、LDHの上昇

ALPの上昇

腎臓

血清クレアチニン、BUNの上昇

尿量減少

過敏症

発疹、そう痒、光線過敏症

その他

注射部位の局所発赤

静脈炎

13. 過量投与

  1. 13.1 症状

    徐脈、完全房室ブロック、心不全、低血圧等があらわれることがある。

  2. 13.2 処置

    透析によって除去されない。下記等の適切な処置を行うこと。

    • 徐脈、完全房室ブロック
      アトロピン硫酸塩水和物、イソプレナリン等の投与や心臓ペーシングを適用すること。
    • 心不全、低血圧
      強心剤、昇圧剤、輸液等の投与や補助循環を適用すること。

14. 適用上の注意

14.1 薬剤調製時の注意

他剤との配合によりpHが8を超える場合には、ジルチアゼムが析出することがあるので注意すること。

16. 薬物動態

16.1 血中濃度

  1. 16.1.1 1回静注

    心疾患患者8例に本剤10mgを1分間で1回静注したとき、投与直後で最高血中濃度に達し、初期で急激に減少、その後緩やかに減衰する。1回静注時の半減期(消失相)は約1.9時間である1)

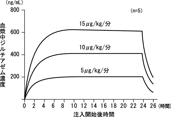
  2. 16.1.2 点滴静注

    非開心術中の患者5例に本剤を5、10、15μg/kg/分で24時間点滴静注したときの実測値より算出したシミュレーションカーブは下図のとおりである。血漿中濃度は注入速度の増加に従って用量依存的に上昇し、投与開始後5~6時間で定常状態となる。投与終了後は速やかに減少したのち緩やかに消失する2)

16.3 分布

血漿蛋白結合率は約60~75%であった(血漿中濃度約180~540ng/mL、ヒト)3)(in vitro)。

16.4 代謝

  1. 16.4.1 代謝経路

    健康成人男子に経口投与したときの主な代謝経路は、酸化的脱アミノ化、酸化的脱メチル化、脱アセチル化、抱合化である4)

  2. 16.4.2 代謝酵素

    本剤は主として代謝酵素チトクロームP450 3A4(CYP3A4)で代謝される。

16.5 排泄

14C標識ジルチアゼム塩酸塩3mg/kgをSD系雄性ラットに静脈内投与したとき、投与後72時間までの尿中排泄率は34.8%、糞中排泄率は64.6%であった5)

17. 臨床成績

17.1 有効性及び安全性に関する試験

  • 〈高血圧性緊急症〉
    1. 17.1.1 国内一般臨床試験

      悪性高血圧、高血圧性脳症、解離性大動脈瘤、急性左心不全等の高血圧性緊急症に対する有効率(有効以上)は100.0%(28/28例)であった。
      副作用発現頻度は、20.7%(6/29例)であった6)

  • 〈不安定狭心症〉
    1. 17.1.2 国内臨床試験

      無作為単純盲検比較試験の結果、不安定狭心症に対する本剤の有用性が認められた。有効率(中等度改善以上)は80.0%(32/40例)であった7)

18. 薬効薬理

18.1 作用機序

末梢血管、冠血管等の血管平滑筋及び房室結節において、細胞内へのCa2+流入を抑制することにより、血管拡張作用及び房室結節伝導時間の延長作用を示し、高血圧、不整脈、狭心症に効果を示す。

18.2 血圧に対する作用

  1. 18.2.1 麻酔下及び無麻酔下で高い血圧を下げるが、麻酔下での方が無麻酔下よりも強く、また、正常血圧よりも高い血圧に対して強い降圧作用を示す(ラット)8),9),10)
  2. 18.2.2 血圧の低下とともに末梢血管抵抗及び心筋酸素消費量を減少させ、心拍出量を増加させる(イヌ)11)
  3. 18.2.3 脳、冠、腎の血流量を減少させず、血圧を低下させる。また、ナトリウム利尿作用も示す(イヌ、サル)11),12),13)

18.3 心筋虚血に対する作用

  1. 18.3.1 心筋の酸素需要供給バランス改善作用
    1. (1) 太い冠血管及び副血行路を拡張し、心筋虚血部への血流を増加させる(イヌ)13),14),15),16)
    2. (2) 冠動脈スパスムを抑制する(ブタ)17)
  2. 18.3.2 心筋保護作用

    心筋虚血時、細胞内へのCa2+過剰流入を抑制することにより、心機能・心筋エネルギー代謝を保持し梗塞巣の広がりを縮小する(イヌ、ネコ)18),19)

19. 有効成分に関する理化学的知見

一般的名称

ジルチアゼム塩酸塩(Diltiazem Hydrochloride)

化学名

(2S, 3S)-5-[2-(Dimethylamino)ethyl]-2-(4-methoxyphenyl)-4-oxo-2, 3, 4, 5-tetrahydro-1, 5-benzothiazepin-3-yl acetate monohydrochloride

分子式

C22H26N2O4S・HCl

分子量

450.98

性状

白色の結晶又は結晶性の粉末で、においはない。ギ酸に極めて溶けやすく、水、メタノール又はクロロホルムに溶けやすく、アセトニトリルにやや溶けにくく、無水酢酸又はエタノール(99.5)に溶けにくく、ジエチルエーテルにほとんど溶けない。

化学構造式

融点

210~215℃(分解).

旋光度〔α〕20D

+115~+120°(乾燥後, 0.2g, 水, 20mL, 100mm)

22. 包装

[250mg×5瓶(バイアル)]

24. 文献請求先及び問い合わせ先

*田辺ファーマ株式会社 くすり相談センター

〒541-8505 大阪市中央区道修町3-2-10

電話 0120-753-280

26. 製造販売業者等

26.1 *製造販売元

田辺ファーマ株式会社

大阪市中央区道修町3-2-10

〒100-0013 東京都千代田区霞が関3-3-2 新霞が関ビル

画面を閉じる

Copyright © Pharmaceuticals and Medical Devices Agency, All Rights reserved.