医療用医薬品 詳細表示

バンコマイシン塩酸塩点滴静注用0.5g「NIG」

処方せん医薬品

添付文書番号
企業コード
作成又は改訂年月
日本標準商品分類番号
薬効分類名
承認等
一般的名称
1.警告
2.禁忌(次の患者には投与しないこと)
3.組成・性状
3.1組成
3.2製剤の性状
4.効能・効果
5.効能・効果に関連する注意
6.用法・用量
7.用法・用量に関連する注意
8.重要な基本的注意
9.特定の背景を有する患者に関する注意
9.1合併症・既往歴等のある患者
9.2腎機能障害患者
9.3肝機能障害患者
9.5妊婦
9.6授乳婦
9.7小児等
9.8高齢者
10.相互作用
10.2併用注意(併用に注意すること)
11.副作用
11.1重大な副作用
11.2その他の副作用
13.過量投与
14.適用上の注意
15.その他の注意
15.1臨床使用に基づく情報
16.薬物動態
16.1血中濃度
16.3分布
16.5排泄
16.6特定の背景を有する患者
16.8その他
17.臨床成績
17.1有効性及び安全性に関する試験
18.薬効薬理
18.1作用機序
18.2抗菌作用
19.有効成分に関する理化学的知見
21.承認条件
22.包装
23.主要文献
24.文献請求先及び問い合わせ先
26.製造販売業者等

バンコマイシン塩酸塩点滴静注用0.5g「NIG」

添付文書番号

6113400A1235_1_04

企業コード

581120

作成又は改訂年月

**2026年2月改訂(第3版)
2025年11月改訂(第2版)

日本標準商品分類番号

876113

薬効分類名

グリコペプチド系抗生物質製剤

承認等

バンコマイシン塩酸塩点滴静注用0.5g「NIG」

販売名コード

YJコード

6113400A1235

販売名英語表記

Vancomycin Hydrochloride for I.V. Infusion

販売名ひらがな

ばんこまいしんえんさんえんてんてきじょうちゅうよう0.5g「NIG」

承認番号等

承認番号

22100AMX00272

販売開始年月

2009年5月

貯法・有効期間

貯法

室温保存

有効期間

3年

基準名

日本薬局方

注射用バンコマイシン塩酸塩

一般的名称

バンコマイシン塩酸塩

1. 警告

本剤の耐性菌の発現を防ぐため、「5. 効能・効果に関連する注意」、「8. 重要な基本的注意」の項を熟読の上、適正使用に努めること。

2. 禁忌(次の患者には投与しないこと)

本剤の成分に対し過敏症の既往歴のある患者

3. 組成・性状

3.1 組成

バンコマイシン塩酸塩点滴静注用0.5g「NIG」

有効成分1バイアル中:バンコマイシン塩酸塩 0.50g(力価)   0.50g(力価)
添加剤1バイアル中:ニコチン酸アミド(1.6mg)、D-マンニトール(100mg)、pH調節剤

3.2 製剤の性状

バンコマイシン塩酸塩点滴静注用0.5g「NIG」

pH2.5~4.5
浸透圧比約1※※(生理食塩液に対する比)
色・性状白色の塊又は粉末

※ 0.5g(力価)/10mL(水溶液)
※※0.5g(力価)/100mL(生理食塩液)

4. 効能・効果

  • 〈適応菌種〉
    • バンコマイシンに感性のメチシリン耐性黄色ブドウ球菌(MRSA)
    • 〈適応症〉

      敗血症、感染性心内膜炎、外傷・熱傷及び手術創等の二次感染、骨髄炎、関節炎、肺炎、肺膿瘍、膿胸、腹膜炎、化膿性髄膜炎

  • 〈適応菌種〉
    • バンコマイシンに感性のメチシリン耐性コアグラーゼ陰性ブドウ球菌(MRCNS)
    • 〈適応症〉

      敗血症、感染性心内膜炎、外傷・熱傷及び手術創等の二次感染、骨髄炎、関節炎、腹膜炎、化膿性髄膜炎

  • 〈適応菌種〉
    • バンコマイシンに感性のペニシリン耐性肺炎球菌(PRSP)
    • 〈適応症〉

      敗血症、肺炎、化膿性髄膜炎

  • MRSA又はMRCNS感染が疑われる発熱性好中球減少症

5. 効能・効果に関連する注意

  • 〈効能共通〉
    1. 5.1 本剤の使用にあたっては、耐性菌の発現を防ぐため、原則として他の抗菌薬及び本剤に対する感受性を確認すること。
    1. 5.2 本剤はメチシリン耐性黄色ブドウ球菌(MRSA)感染症、メチシリン耐性コアグラーゼ陰性ブドウ球菌(MRCNS)感染症、ペニシリン耐性肺炎球菌(PRSP)感染症に対してのみ有用性が認められている。ただし、ブドウ球菌性腸炎に対しては非経口的に投与しても有用性は認められない。
  • 〈化膿性髄膜炎〉
    1. 5.3 後遺症として聴覚障害が発現するおそれがあるので、特に小児等、適応患者の選択に十分注意し、慎重に投与すること。
  • 〈PRSP肺炎〉
    1. 5.4 アレルギー、薬剤感受性など他剤による効果が期待できない場合にのみ使用すること。
  • 〈MRSA又はMRCNS感染が疑われる発熱性好中球減少症〉
    1. 5.5 本剤は、以下の2条件を満たし、かつMRSA又はMRCNSが原因菌であると疑われる症例に投与すること。
      1. 5.5.1 1回の検温で38℃以上の発熱、又は1時間以上持続する37.5℃以上の発熱
      2. 5.5.2 好中球数が500/mm3未満の場合、又は1000/mm3未満で500/mm3未満に減少することが予測される場合
    1. 5.6 国内外のガイドラインを参照し、本疾患の治療に十分な経験を持つ医師のもとで、本剤の使用が適切と判断される症例についてのみ実施すること。
    1. 5.7 本剤投与前に血液培養を実施すること。MRSA又はMRCNS感染の可能性が否定された場合には本剤の投与中止や他剤への変更を考慮すること。腫瘍熱・薬剤熱等の非感染性の発熱であることが確認された場合には、速やかに本剤の投与を中止すること。
    1. 5.8 本剤投与の開始時期の指標である好中球数が緊急時等で確認できない場合には、白血球数の半数を好中球数として推定すること。

6. 用法・用量

通常、成人にはバンコマイシン塩酸塩として1日2g(力価)を1回0.5g(力価)6時間ごと又は1回1g(力価)12時間ごとに分割して、それぞれ60分以上かけて点滴静注する。
なお、年齢、体重、症状により適宜増減する。
高齢者には、1回0.5g(力価)12時間ごと又は1回1g(力価)24時間ごとに、それぞれ60分以上かけて点滴静注する。
なお、年齢、体重、症状により適宜増減する。
小児、乳児には、1日40mg(力価)/kgを2~4回に分割して、それぞれ60分以上かけて点滴静注する。
新生児には、1回投与量を10~15mg(力価)/kgとし、生後1週までの新生児に対しては12時間ごと、生後1ヵ月までの新生児に対しては8時間ごとに、それぞれ60分以上かけて点滴静注する。

7. 用法・用量に関連する注意

  • 〈効能共通〉
    1. 7.1 急速なワンショット静注又は短時間での点滴静注を行うとヒスタミンが遊離されてred neck(red man)症候群(顔、頸、躯幹の紅斑性充血、そう痒等)、血圧低下等の副作用が発現することがあるので、60分以上かけて点滴静注すること。
    1. 7.2 腎機能障害患者では健康者より血中濃度の半減期が延長するので、投与量を修正して使用する必要がある。クレアチニンクリアランスから投与量を修正する目安は下図により算出できる1) (外国人データ)。,
  • 〈MRSA又はMRCNS感染が疑われる発熱性好中球減少症〉
    1. 7.3 好中球数、発熱の回復が認められた場合には、本剤の投与中止を考慮すること。

8. 重要な基本的注意

  1. 8.1 本剤の使用にあたっては、耐性菌の発現を防ぐため、次のことに注意すること。
    1. 8.1.1 感染症の治療に十分な知識と経験を持つ医師又はその指導の下で行うこと。
    2. 8.1.2 投与期間は、感染部位、重症度、患者の症状等を考慮し、適切な時期に、本剤の継続投与が必要か否か判定し、疾病の治療上必要な最低限の期間の投与にとどめること。
  2. 8.2 本剤によるショック、アナフィラキシーの発生を確実に予知できる方法がないので、次の措置をとること。
    1. 8.2.1 事前に既往歴等について十分な問診を行うこと。なお、抗生物質等によるアレルギー歴は必ず確認すること。
    2. 8.2.2 投与に際しては、必ずショック等に対する救急処置のとれる準備をしておくこと。
    3. 8.2.3 投与開始から投与終了後まで、患者を安静の状態に保たせ、十分な観察を行うこと。特に、投与開始直後は注意深く観察すること。
  3. 8.3 投与期間中は血中濃度をモニタリングすることが望ましい。,,,,,
  4. 8.4 重篤な腎障害があらわれることがあるので、定期的に検査を行うなど観察を十分に行うこと。
  5. 8.5 第8脳神経障害があらわれることがあるので、聴力検査等観察を十分に行うこと。
  6. 8.6 肝機能障害、黄疸があらわれることがあるので、定期的に検査を行うなど観察を十分に行うこと。

9. 特定の背景を有する患者に関する注意

9.1 合併症・既往歴等のある患者

  1. 9.1.1 テイコプラニン、ペプチド系抗生物質又はアミノグリコシド系抗生物質に対し過敏症の既往歴のある患者(ただし、バンコマイシンに対し過敏症のある患者には投与しないこと)

    治療上やむを得ないと判断される場合を除き、投与しないこと。

  2. 9.1.2 ペプチド系抗生物質、アミノグリコシド系抗生物質、テイコプラニンによる難聴又はその他の難聴のある患者

    治療上やむを得ないと判断される場合を除き、投与しないこと。難聴が発現又は増悪するおそれがある。,

9.2 腎機能障害患者

腎機能障害の程度に応じた投与量・投与間隔の調節が必要となる。血中濃度をモニタリングするなど慎重に投与すること。排泄が遅延し、蓄積する。,,,

9.3 肝機能障害患者

肝障害が悪化することがある。

9.5 妊婦

妊婦又は妊娠している可能性のある女性には、治療上の有益性が危険性を上回ると判断される場合にのみ投与すること。

9.6 授乳婦

授乳しないことが望ましい。ヒト母乳中に移行する。

9.7 小児等

血中濃度をモニタリングするなど慎重に投与すること。腎の発達段階にあるため、特に低出生体重児、新生児においては血中濃度の半減期が延長し高い血中濃度が長時間持続するおそれがある。,,,

9.8 高齢者

投与前及び投与中に腎機能検査を行い、腎機能低下の程度により投与量・投与間隔を調節し、血中濃度をモニタリングするなど慎重に投与すること。高齢者では腎機能が低下している場合が多い。,,

10. 相互作用

    10.2 併用注意(併用に注意すること)

    薬剤名等臨床症状・措置方法機序・危険因子
    • 全身麻酔薬
      • チオペンタール等

    同時に投与すると、紅斑、ヒスタミン様潮紅、アナフィラキシー反応等の副作用が発現することがある。
    全身麻酔の開始1時間前には本剤の点滴静注を終了すること。

    全身麻酔薬には、アナフィラキシー作用、ヒスタミン遊離作用を有するものがあり、本剤にもヒスタミン遊離作用がある。しかし、相互作用の機序は不明である。

    • 腎毒性及び聴器毒性を有する薬剤
      • アミノグリコシド系抗生物質
        • アルベカシン硫酸塩
        • トブラマイシン等
      • 白金含有抗悪性腫瘍剤
        • シスプラチン
        • ネダプラチン等
    • ,

    腎障害、聴覚障害が発現、悪化するおそれがあるので、併用は避けること。やむを得ず併用する場合は、慎重に投与すること。

    機序:両剤共に腎毒性、聴器毒性を有するが、相互作用の機序は不明である。
    危険因子:腎障害のある患者、高齢者、長期投与の患者等

    • 腎毒性を有する薬剤
      • アムホテリシンB
      • シクロスポリン等
    • ,

    腎障害が発現、悪化するおそれがあるので、併用は避けること。やむを得ず併用する場合は、慎重に投与すること。

    機序:両剤共に腎毒性を有するが、相互作用の機序は不明である。
    危険因子:腎障害のある患者、高齢者、長期投与の患者等

    11. 副作用

    次の副作用があらわれることがあるので、観察を十分に行い、異常が認められた場合には投与を中止するなど適切な処置を行うこと。

    11.1 重大な副作用

    1. 11.1.1 ショック、アナフィラキシー(いずれも頻度不明)

      ショック、アナフィラキシー(呼吸困難、全身潮紅、浮腫等)を起こすことがある。

    2. 11.1.2 急性腎障害、間質性腎炎(いずれも頻度不明)

      急性腎障害、間質性腎炎等の重篤な腎障害があらわれることがある。

    3. 11.1.3 汎血球減少、無顆粒球症、血小板減少(いずれも頻度不明)
    4. 11.1.4 中毒性表皮壊死融解症(Toxic Epidermal Necrolysis:TEN)、皮膚粘膜眼症候群(Stevens-Johnson症候群)、剥脱性皮膚炎(いずれも頻度不明)
    5. 11.1.5 薬剤性過敏症症候群(頻度不明)

      初期症状として発疹、発熱がみられ、更に肝機能障害、リンパ節腫脹、白血球増加、好酸球増多、異型リンパ球出現等を伴う遅発性の重篤な過敏症状があらわれることがある。なお、ヒトヘルペスウイルス6(HHV-6)等のウイルスの再活性化を伴うことが多く、投与中止後も発疹、発熱、肝機能障害等の症状が再燃あるいは遷延化することがあるので注意すること2)

    6. 11.1.6 第8脳神経障害(頻度不明)

      眩暈、耳鳴、聴力低下、難聴等の第8脳神経障害があらわれることがある。,

    7. 11.1.7 偽膜性大腸炎(頻度不明)

      偽膜性大腸炎等の血便を伴う重篤な大腸炎があらわれることがあるので、腹痛、頻回の下痢があらわれた場合には、直ちに投与を中止するなど適切な処置を行うこと。

    8. 11.1.8 肝機能障害、黄疸(いずれも頻度不明)

      AST、ALT、Al-P等の上昇、黄疸があらわれることがある。

    11.2 その他の副作用

    2%以上

    2%未満

    頻度不明

    過敏症

    発疹

    発赤、顔面潮紅

    そう痒、蕁麻疹、線状IgA水疱症

    肝臓

    AST上昇、ALT上昇、ビリルビン上昇

    Al-P上昇、LDH上昇

    γ-GTP上昇、LAP上昇

    腎臓

    BUN上昇

    クレアチニン上昇

    血液

    白血球減少、血小板減少、好酸球増多

    貧血

    消化器

    下痢

    嘔気、嘔吐、腹痛

    その他

    発熱、静脈炎、血管痛

    皮膚血管炎、悪寒、注射部疼痛

    13. 過量投与

    1. 13.1 処置

      HPM(high performance membrane)を用いた血液透析により血中濃度を下げることが有効であるとの報告がある3),4)

    14. 適用上の注意

    14.1 薬剤調製時の注意

    1. 14.1.1 本剤0.5g(力価)バイアルに日局注射用水、日局生理食塩液又は日局5%ブドウ糖注射液10mLを加えて溶解し、更に0.5g(力価)に対し100mL以上の補液で希釈すること。
    2. 14.1.2 調製後は速やかに使用すること。なお、やむを得ず保存を必要とする場合でも、室温、冷蔵庫保存共に24時間以内に使用すること。

    14.2 薬剤投与時の注意

    1. 14.2.1 血栓性静脈炎が起こることがあるので、薬液の濃度及び点滴速度に十分注意し、繰り返し投与する場合は、点滴部位を変更すること。
    2. 14.2.2 薬液が血管外に漏れると壊死が起こるおそれがあるので、薬液が血管外に漏れないように慎重に投与すること。
    3. 14.2.3 筋肉内注射は痛みを伴うので行わないこと。

    15. その他の注意

    15.1 臨床使用に基づく情報

    外国で急速静注により心停止を起こしたとの報告がある。

    16. 薬物動態

    16.1 血中濃度

    健康成人に単回点滴静注した時の血漿中濃度を図1に、薬物動態パラメータを表1に示す5)

    図1 血漿中濃度(健康成人、60分点滴)
    表1 薬物動態パラメータ(健康成人、60分点滴)

    記号

    投与量
    〔g(力価)〕

    n

    Cmax(μg/mL)

    AUC0-∞
    (μg・hr/mL)

    T1/2
    (hr)

    0.5

    6

    23.0

    85

    4.29

    1.0

    49.5

    166

    5.23

    (測定法:bioassay)(mean)

    16.3 分布

    1. 16.3.1 組織移行

      骨髄血6)、骨組織6)、関節液6)、腹水7)に移行が認められた。また、髄液(髄膜炎時)8)にも移行が認められた。

    2. 16.3.2 蛋白結合率

      健康成人に1.0g(力価)点滴静注時の血清を用い、遠心限外ろ過法にて測定された血清蛋白結合率は34.3%であった5)

    16.5 排泄

    主に糸球体ろ過により腎臓より未変化体として排泄された。健康成人における0.5g(力価)、1.0g(力価)(n=6)60分点滴静注時の累積尿中排泄率は、点滴終了後24時間までに投与量の約85%、72時間までに90%以上であった。総クリアランスは約100mL/minであった5),9)

    16.6 特定の背景を有する患者

    1. 16.6.1 腎機能障害患者

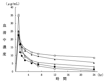
      点滴静注時の血清中濃度を図2に、薬物動態パラメータを表2に示す。腎機能の低下に伴って、半減期の延長、AUCの増大が認められた10) ,

      図2 血清中濃度(腎機能障害患者、60分点滴)
      表2 薬物動態パラメータ(腎機能障害患者、60分点滴)

      記号

      患者群

      Ccr
      (mL/min)

      n

      Cmax(μg/mL)

      AUC0-∞
      (μg・hr/mL)

      T1/2α
      (hr)

      T1/2β
      (hr)

      健康
      成人

      70≦Ccr

      4

      34.53

      90.4

      0.32

      3.08

      腎障害
      A群

      50≦Ccr<70

      4

      22.60

      95.4

      0.43

      7.41

      腎障害
      B群

      30≦Ccr<50

      5

      22.85

      163.2

      0.70

      10.73

      腎障害
      C群

      15≦Ccr<30

      4

      24.99

      374.8

      0.49

      20.22

      腎障害
      D群

      Ccr<15

      6

      35.13

      682.8

      0.38

      35.49

      投与量:0.5g(力価)、60分点滴

      〔測定法:FPIA(蛍光偏光免疫測定法)〕(mean)

    2. 16.6.2 小児患者

      点滴静注時の薬物動態パラメータを表3に示す11)

      表3 薬物動態パラメータ(小児患者、60分点滴)

      No.

      年齢

      Cmax(μg/mL)

      AUC0-∞
      (μg・hr/mL)

      T1/2α
      (hr)

      T1/2β
      (hr)

      CL
      (mL/min/kg)

      Vc
      (L/kg)

      1
      2
      3
      4

      1歳
      1歳10ヵ月
      2歳1ヵ月
      2歳9ヵ月

      29.0
      27.0
      20.7
      19.8

      78
      75
      59
      67

      0.29
      0.31
      0.51
      0.65

      2.52
      3.21
      2.08
      5.70

      2.13
      2.23
      2.81
      2.49

      0.21
      0.22
      0.44
      0.43

      5

      11歳

      49.1

      113

      0.29

      4.17

      1.47

      0.16

      mean

      29.1

      78

      0.41

      3.54

      2.23

      0.29

      投与量:10mg(力価)/kg×3~4回/日反復投与、60分点滴

      〔測定法:FPIA(蛍光偏光免疫測定法)〕

    3. 16.6.3 低出生体重児患者

      点滴静注時の薬物動態パラメータを表4に示す。低出生体重児、特に体重1000g以下の超低出生体重児では消失半減期の延長が認められた12)

      表4 薬物動態パラメータ(低出生体重児患者、60分点滴)

      No.

      修正在胎
      (週)

      日齢
      (日)

      体重
      (g)

      SCr
      (mg/dL)

      投与量注1)
      (mg/kg/日)

      Cmax注2)
      (μg/mL)

      T1/2
      (hr)

      CL
      (mL/kg/min)

      Vc
      (L/kg)

      1
      2
      3
      4
      5

      25
      26
      30
      28
      30

      19
      10
      31
      20
      40

      442
      472
      708
      735
      790

      0.6
      1.9
      0.7
      1.0
      0.6

      15×1
      15×1
      25×1
      15×1
      25×1

      22.8
      35.1
      39.3
      28.3
      58.8

      11.01
      29.42
      19.70
      20.78
      8.22

      0.867
      0.281
      0.549
      0.819
      0.657

      0.769
      0.627
      0.908
      0.297
      0.257

      6
      7

      29
      32

      19
      17

      1064
      1188

      0.8
      0.7

      25×1
      25×1

      44.7
      50.8

      8.51
      9.06

      0.915
      1.028

      0.477
      0.417

      8
      9
      10

      33
      38
      43

      11
      19
      10

      1512
      1844
      2060

      0.7
      0.4
      0.5

      17.5×2
      17.5×2
      20×2

      46.5
      25.2
      62.2

      8.19
      10.32
      7.99

      0.753
      0.982
      0.745

      0.359
      0.875
      0.212

      注1)投与量;15~25mg(力価)/kg×5回反復投与、60分点滴
      承認外用法・用量である。〔本剤の承認された用法・用量は、1回10~15mg(力価)/kgを生後1週までの新生児には12時間ごと、生後1ヵ月までの新生児には8時間ごとに60分以上かけて点滴静注する。〕

      注2)2回投与時の成績

      〔測定法:FPIA(蛍光偏光免疫測定法)〕

    4. 16.6.4 高齢患者

      点滴静注時の症例の内訳を表5に、薬物動態パラメータを表6に示す13)

      表5 症例の内訳(高齢患者)

      No.

      1

      2

      3

      4

      5

      6

      年齢(歳)

      84

      87

      73

      78

      74

      74

      Ccr(mL/min)

      19.3

      21.0

      34.4

      51.3

      62.6

      62.7

      表6 薬物動態パラメータ(高齢患者、60分点滴)

      患者群

      n

      年齢
      (歳)

      体重
      (kg)

      Ccr
      (mL/min)

      Cmax
      (μg/mL)

      AUC0-∞
      (μg・hr/mL)

      T1/2
      (hr)

      高齢
      患者

      6

      78.3

      34.8

      41.9

      22.6

      186

      12.99

      健康
      成人

      6

      22.0

      62.7

      115.0

      110

      2.98

      投与量注3):10mg(力価)/kg、60分点滴

      注3)承認外用法・用量である。〔本剤の承認された用法・用量は、1回0.5g(力価)12時間ごと又は1回1g(力価)24時間ごとに60分以上かけて点滴静注する。〕

      〔測定法:FPIA(蛍光偏光免疫測定法)〕(mean)

    16.8 その他

    1. 16.8.1 血中濃度モニタリング

      有効性を確保し、かつ副作用の発現を避けるため、長期間投与中の患者、低出生体重児、新生児及び乳児、高齢者、腎機能障害又は難聴のある患者、腎障害、聴覚障害を起こす可能性のある薬剤(アミノグリコシド系抗生物質等)を併用中の患者等については、血中濃度をモニタリングすることが望ましい。
      国内外のガイドライン等では、AUCを指標とする投与設計を行うことが推奨されている14)
      点滴終了1~2時間後の血中濃度が60~80μg/mL以上、最低血中濃度が30μg/mL以上が継続すると、聴覚障害、腎障害等の副作用が発現する可能性があると報告されている9),15)(外国人データ)。,,,,,

    17. 臨床成績

    17.1 有効性及び安全性に関する試験

    • 〈メチシリン耐性黄色ブドウ球菌(MRSA)感染症〉
      1. 17.1.1 国内一般臨床試験

        承認時における一般臨床試験での有効性評価対象例93例中83例(89.2%)が有効であった。臨床検査値の異常変動を含む副作用は、安全性評価対象例107例中38例(35.5%)に認められた。主な副作用は、ALT上昇12例(11.5%)、AST上昇10例(9.5%)、発疹8例(7.5%)であった16)

        表 臨床成績

        疾患名

        有効例数/有効性評価
              対象例数

        有効率(%)

        敗血症

        29/30

        96.7

        感染性心内膜炎

        3/3

        外傷・熱傷及び手術創等の二次感染

        5/5

        骨髄炎

        3/3

        関節炎

        4/4

        肺炎、肺膿瘍

        20/27

        74.1

        膿胸

        6/6

        腹膜炎

        4/4

        化膿性髄膜炎

        4/4

    • 〈ペニシリン耐性肺炎球菌(PRSP)感染症〉
      1. 17.1.2 国内一般臨床試験

        承認時における2つの一般臨床試験での有効性評価対象例は小児肺炎4例、成人肺炎1例であり、有効性評価対象例5例中4例が有効であった17)

    18. 薬効薬理

    18.1 作用機序

    バンコマイシンの作用は細菌の細胞壁合成阻害によるものであり、その抗菌作用は殺菌的である18)。更に細菌の細胞膜の透過性に変化を与える19)

    18.2 抗菌作用

    1. 18.2.1 バンコマイシンは試験管内でメチシリン耐性黄色ブドウ球菌(MRSA)やメチシリン耐性コアグラーゼ陰性ブドウ球菌(MRCNS)に対して抗菌力を有す20),21)。また、MRSAを用いた試験管内継代培養試験において、バンコマイシンに対する耐性化は低い22)
    2. 18.2.2 バンコマイシンはペニシリン耐性肺炎球菌(PRSP)に対して抗菌力を有し、その作用は殺菌的である23)
    3. 18.2.3 バンコマイシンは試験管内でグラム陰性菌には抗菌力を示さない21)

    19. 有効成分に関する理化学的知見

    一般的名称

    バンコマイシン塩酸塩

    (Vancomycin Hydrochloride)

    化学名

    (1S,2R,18R,19R,22S,25R,28R,40S)-50-[3-Amino-2,3,6-trideoxy-3-C-methyl-α-L-lyxo-hexopyranosyl-(1→2)-β-D-glucopyranosyloxy]-22-carbamoylmethyl-5,15-dichloro-2,18,32,35,37-pentahydroxy-19-[(2R)-4-methyl-2-(methylamino)pentanoylamino]-20,23,26,42,44-pentaoxo-7,13-dioxa-21,24,27,41,43-pentaazaoctacyclo[26.14.2.23,6.214,17.18,12.129,33.010,25.034,39]pentaconta-3,5,8,10,12(50),14,16,29,31,33(49),34,36,38,45,47-pentadecaene-40-carboxylic acid monohydrochloride

    分子式

    C66H75Cl2N9O24・HCl

    分子量

    1485.71

    性状

    白色の粉末である。水に溶けやすく、ホルムアミドにやや溶けやすく、メタノールに溶けにくく、エタノール(95)に極めて溶けにくく、アセトニトリルにほとんど溶けない。吸湿性である。

    化学構造式

    略号

    VCM

    21. 承認条件

    1. 21.1 *使用施設を把握すると共に施設の抽出率、施設数を考慮して以下の対策を講ずること。
      1. 21.1.1 適切な市販後調査(感受性調査を含む)を継続し、情報を収集すること。
      2. 21.1.2 収集した情報を解析し、適正な使用を確保するため医療機関に対し必要な情報提供を継続すること。

    22. 包装

    10バイアル

    23. 主要文献

    1) Moellering, R. C. et al.:Ann. Intern. Med. 1981;94:343-346

    2) 厚生労働省:重篤副作用疾患別対応マニュアル 薬剤性過敏症症候群

    3) 南方 保ほか:腎と透析. 1991;30:118-119

    4) 上條利幸ほか:日透析医学会誌. 1994;27:1127-1132

    5) 中島光好ほか:Chemotherapy. 1992;40:210-224

    6) 倉田和男:化学療法の領域. 1993;9:138-144

    7) 田中日出和ほか:Chemotherapy. 1992;40:693

    8) 美原 盤ほか:医学のあゆみ. 1993;164:915-916

    9) Matzke, G. R. Jr. et al.:Clin. Pharmacokinet. 1986;11:257-282

    10) 竹中 皇ほか:Chemotherapy. 1993;41:1079-1089

    11) 藤井良知ほか:Chemotherapy. 1994;42:863-870

    12) 石関しのぶほか:日本小児科学会雑誌. 1996;100:633-637

    13) Cho, T. et al.:Jpn. J. Clin. Pharmacol. Ther. 1995;26:743-751

    14) 日本化学療法学会、日本TDM学会:抗菌薬TDM臨床実践ガイドライン2022

    15) 日本感染症学会:抗MRSA薬使用の手引き2008

    16) 島田 馨ほか:Chemotherapy. 1992;40:86-101

    17) ペニシリン耐性肺炎球菌(PRSP)感染症に対する第Ⅲ相臨床試験(塩酸バンコマイシン点滴静注用:2004年10月22日承認、申請資料概要ト 1.1、1.2)

    18) Barna, J. C. J. et al.:Annu. Rev. Microbiol. 1984;38:339-357

    19) 作用機作及び耐性発現(塩酸バンコマイシン点滴静注用:2004年10月22日承認、申請資料概要ホ.2.)

    20) 吉田 勇ほか:Jpn. J. Antibiot. 2012;65:49-72

    21) 永田 弘ほか:Chemotherapy. 1992;40:581-591

    22) 青木泰子ほか:感染症学雑誌. 1990;64:549-556

    23) 効力を裏付ける薬理試験(塩酸バンコマイシン点滴静注用:2004年10月22日承認、申請資料概要ホ.1.)

    24. 文献請求先及び問い合わせ先

    日医工株式会社 お客様サポートセンター

    〒930-8583 富山市総曲輪1丁目6番21

    TEL(0120)517-215
    FAX(076)442-8948

    26. 製造販売業者等

    26.1 製造販売元

    日医工岐阜工場株式会社

    富山市総曲輪1丁目6番21

    26.2 **販売元

    日医工株式会社

    富山市総曲輪1丁目6番21

    〒100-0013 東京都千代田区霞が関3-3-2 新霞が関ビル

    画面を閉じる

    Copyright © Pharmaceuticals and Medical Devices Agency, All Rights reserved.